Crab pot chewed up my 25HP motor

Kplusten

Cadet
Joined
Jun 4, 2014
Messages
22
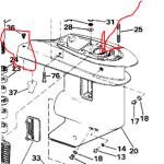
Trolling for stripers at dawn, ran over an abandoned partly submerged crab pot with my 25 HP Evinrude E25ELEID (1991) which has been like a good friend. The prop was chewed up a bit and tangled with the line, but son was able to remove it and motor restarted. Bad part is that it broke off a large chunk of the anti-cavitation plate. And that chunk had the anode which also serves as a trim tab to counter the torque from the prop rotation. So, now the boat (16 foot Alumacraft) pulls to the right, esp at WOT. It still goes almost 30 mph with two adults and lots of gear, but having to steer (remote) constantly is a new distraction. Need advice: is it worth removing the LU and getting someone very talented to weld on a piece of aluminum plate? Have heard the heat can ruin the seals but have no experience with that. Or, is it possible to bolt on an ugly aftermarket plate and attach the anode to it? Or should I look for a used LU to replace the entire unit? Or can I mount the motor at an angle and find another place for the anode? Or should I just get back to fishing and not worry about steering or electrolysis or how bad it looks? See attached photo taken from above with motor raised. Any and all advice requested.
broken anti-cavitation plate (450x800).jpg
 

Scott Danforth

Grumpy Vintage Moderator still playing with boats
Staff member
Joined
Jul 23, 2011
Messages
52,314
I would have a welder weld it up. most marinas have a sign for welding skegs for about $50 or $100. talk to them. Not much different than welding on a skeg. a little more work because of the trim tab mount.
 

GA_Boater

Honorary Moderator Emeritus
Joined
May 24, 2011
Messages
49,038
I think welding in the broken area will OK as far as not damaging the seals. The welding won't be that close to the seals. Best thing is talk to a welder. I didn't include it in the snip, but the anodes are on the side, held on with part # 76. So your "ugly plate" idea might work to hold the trim tab. I would avoid using one of the aftermarket wing things because they are made of plastic and will defeat the trim tab/anode with no metal to metal connection. An aluminum plate cut to fit and bolted to the AV plate would be better, I think.

Good luck getting it fixed.



25lu.PNG
 

Attachments

  • 25lu.PNG
    25lu.PNG
    52.8 KB · Views: 1

gm280

Supreme Mariner
Joined
Jun 26, 2011
Messages
14,605
Oh yes, go get it weld and attach a new anode. It really isn't that hard for a good welder to do and really isn't that expensive either. I had one welded and once I sanded and primed/painted it back again, I can't even tell where it was fixed anymore. JMHO!
 

dingbat

Supreme Mariner
Joined
Nov 20, 2001
Messages
17,075
Piece of cake to repair.

Fab a piece to fill in the void and weld it in place. Hour to hour and a half project.
 

Kplusten

Cadet
Joined
Jun 4, 2014
Messages
22
Copy all. Yes, the anodes are on the sides of the lower unit. Not sure why I was confused. Will find a good marine welder to do the work. Already bought replacement trim tab online. Have limited experience doing welding myself, but understand the pros can do a great job. Thanks for the replies.
 

kodibass

Master Chief Petty Officer
Joined
Apr 10, 2010
Messages
865
I often just cut a piece of aluminum to fit as needed & bolt it on as you would the aftermarket wing things, I like to shape it as much as possible as it looked before the damage. you won't hardly be able to tell, cheap and it will perform as before. sometimes I jigsaw the aluminum with little swept back wings like some of the older e-rudes came with looks kool'' I'm a simpleton & a cheap-o
 

Kplusten

Cadet
Joined
Jun 4, 2014
Messages
22
No Title

Closing the loop on broken anti-cavitation plate. Found a good welder who attached a piece of aluminum and also drilled the hole for the trim tab. He said the secret to TIG welding it is to hit it then walk away to let it cool, do same repeatedly. Said the heat is instantly transferred through the entire piece of aluminum and he didn't want to ruin seals. So, it took him awhile but he got it done for $100. Went out for an ops test to see if boat still pulled to right (it did not with trim tab set to right), had my buddy skipper the boat and he missed the center of the creek at WOT and tore up my refurbished aluminum prop, you can see missing chunk of metal. Switched from stainless steel to save LU based on often running boat through sand fishing in shallows. All is good for two 72 year old geezers. Thanks for advice. This one wasn't complex like rebuilding a motor, but you guys still took the time to respond which I appreciated. See atchd photo.
 

Attachments

  • photo236260.jpg
    photo236260.jpg
    67.1 KB · Views: 1
Top